Sidecar 流量路由机制分析
流量管理是 Istio 服务网格的一项核心能力,Istio 中的很多功能,包括请求路由,负载均衡,灰度发布,流量镜像等,都是依托于其流量管理的能力实现的。在 Istio 服务网格中,Pilot 提供了控制平面的流量管理接口,而真正的流量路由则是由数据平面的 sidecar 实现的。本节将对 sidecar 的流量路由机制进行分析,以帮助读者理解 Istio 流量管理的实现原理。
备注:本节将对大量 Envoy 的配置文件内容进行分析。文中采用了 json 格式来展示 Envoy 的配置, json 本身并不支持注释,但为了向读者解释配置文件中的各部分内容的作用,本文将采用“// 注释...”的格式添加注释进行说明。另外,为了方便阅读,将重点展示配置中和流量路由相关的部分,省略部分内容。建议读者在阅读本节时参考Github中的完整配置文件,以助于对本文的理解。
基本的概念和术语
为了理解 sidecar 中的流量处理机制,我们需要理解 Envoy 中的一些基本概念。下面介绍了 Envoy 中和流量处理相关的一些术语,如果需要了解更多关于 Envoy 的内容,请参考本书的数据平面章节。
- Host: 能够进行网络通信的实体(如移动设备、服务器上的应用程序)。在此文档中,host 是一个逻辑上的网络应用程序。一个物理硬件上可能运行有多个 host,只要它们是可以独立寻址的。在 EDS 接口中,也使用 “endpoint” 来表示一个应用实例,对应一个 IP + port 的组合。
- Downstream: 下游 host 连接到 Envoy,发送请求并接收响应。
- Upstream: 上游 host 接收来自 Envoy 的连接和请求,并返回响应。
- Listener: 监听器是一个命名网络地址(例如,端口、unix domain socket 等),可以被下游客户端连接。Envoy 中暴露一个或者多个给下游主机连接的监听器。在 Envoy 中,listener 可以绑定到端口上直接对外提供服务,也可以不绑定到端口上,而是接收其他 listener 转发的请求。
- Cluster: 集群是指 Envoy 连接的一组上游主机,集群中的主机是对等的,对外提供相同的服务,这些主机一起组成了一个可以提供负载均衡和高可用的服务集群。Envoy 通过服务发现来发现集群的成员。可以选择通过主动健康检查来确定集群成员的健康状态。Envoy 通过负载均衡策略决定将请求路由到哪个集群成员。
XDS服务接口
Pilot 通过 xDS 接口向数据平面的 sidecar 下发动态配置信息,以对网格中的数据流量进行控制。xDS 中的 DS 意为 discovery service,即发现服务,表示 xDS 接口使用动态发现的方式提供数据平面所需的配置数据。而 x 则是一个代词,表示有多种 discovery service。本节不对 xDS 接口展开进行描述,关于 xDS 接口的更多内容参见本书的 xDS 章节部分的介绍。
Envoy 配置介绍
Envoy 是一个四层/七层代理,其架构非常灵活,采用了插件式的机制来实现各种功能,可以通过配置的方式对其功能进行定制。Envoy 提供了两种配置的方式:通过配置文件向 Envoy 提供静态配置,或者通过 xDS 接口向 Envoy 下发动态配置。在 Istio 中同时采用了这两种方式对 Envoy 的功能进行设置。本文假设读者对 Envoy 已有基本的了解,如需要了解 Envoy 的更多内容,请参考本书 Envoy 章节部分的介绍。
Envoy 初始化配置文件
在 Istio 中,Envoy 的大部分配置都来自于控制平面通过 xDS 接口下发的动态配置,包括网格中服务相关的 service cluster, listener, route 规则等。但 Envoy 是如何知道 xDS server 的地址呢?这就是在 Envoy 初始化配置文件中以静态资源的方式配置的。 Sidecar 容器中有一个 pilot-agent 进程,该进程根据启动参数生成 Envoy 的初始配置文件,并采用该配置文件来启动 Envoy 进程。
可以使用下面的命令将productpage pod中该文件导出来查看其中的内容:
kubectl exec productpage-v1-6d8bc58dd7-ts8kw -c istio-proxy cat /etc/istio/proxy/envoy-rev0.json > envoy-rev0.json
该初始化配置文件的结构如下所示:
{
"node": {...},
"stats_config": {...},
"admin": {...},
"dynamic_resources": {...},
"static_resources": {...},
"tracing": {...}
}
该配置文件中包含了下面的内容:
- node: 包含了 Envoy 所在节点的相关信息,如节点的 id,节点所属的 Kubernetes 集群,节点的 IP 地址,等等。
- admin: Envoy 的日志路径以及管理端口。
- dynamic_resources: 动态资源,即来自 xDS 服务器下发的配置。
- static_resources: 静态资源,包括预置的一些 listener 和 cluster,例如调用跟踪和指标统计使用到的 listener 和 cluster。
- tracing: 分布式调用追踪的相关配置。
Envoy 完整配置
从 Envoy 初始化配置文件中,我们可以看出 Istio 中 Envoy sidecar 真正的配置实际上是由两部分组成的。Pilot-agent 在启动 Envoy 时将 xDS server 信息通过静态资源的方式配置到 Envoy 的初始化配置文件中,Envoy 启动后再通过 xDS server 获取网格中的服务信息、路由规则等动态资源。
Envoy 完整配置的生成流程如下图所示:

- Pilot-agent 根据启动参数生成 Envoy 的初始配置文件 envoy-rev0.json,该文件告诉 Envoy 从指定的 xDS server 中获取动态配置信息,并配置了 xDS server 的地址信息,即控制平面的 Pilot 服务器地址。
- Pilot-agent 使用 envoy-rev0.json 启动 Envoy 进程。
- Envoy 根据初始配置获得 Pilot 地址,采用 xDS 接口从 Pilot 获取到 listener,cluster,route 等动态配置信息。
- Envoy 根据获取到的动态配置启动 Listener,并根据 listener 的配置,结合 route 和 cluster 对拦截到的流量进行处理。
可以看到,Envoy 中实际生效的配置是由初始化配置文件中的静态配置和从 Pilot 获取的动态配置一起组成的。因此只对 envoy-rev0 .json 进行分析并不能看到网络中流量管理的全貌。那么有没有办法可以看到 Envoy 中实际生效的完整配置呢?Envoy 提供了相应的管理接口,我们可以采用下面的命令导出 productpage-v1 服务 sidecar 的完整配置。
kubectl exec -it productpage-v1-6d8bc58dd7-ts8kw -c istio-proxy curl http://127.0.0.1:15000/config_dump > config_dump
该配置文件的内容如下:
{
"configs": [
{
"@type": "type.googleapis.com/envoy.admin.v3.BootstrapConfigDump",
"bootstrap": {},
"last_updated": "2020-03-11T08:14:03.630Z"
},
{
"@type": "type.googleapis.com/envoy.admin.v3.ClustersConfigDump",
"version_info": "2020-03-11T08:14:06Z/23",
"static_clusters": [...],
"dynamic_active_clusters": [...]
},
{
"@type": "type.googleapis.com/envoy.admin.v3.ListenersConfigDump",
"version_info": "2020-03-11T08:13:39Z/22",
"static_listeners": [...],
"dynamic_listeners": [...]
},
{
"@type": "type.googleapis.com/envoy.admin.v3.RoutesConfigDump",
"static_route_configs": [...],
"dynamic_route_configs": [...],
},
{
"@type": "type.googleapis.com/envoy.admin.v3.SecretsConfigDump",
"dynamic_active_secrets": [...]
}
]
}
从导出的文件中可以看到 Envoy 中主要由以下几部分内容组成:
- BootstrapConfigDump: 初始化配置,来自于初始化配置文件中配置的内容。
- ClustersConfigDump: 集群配置,包括对应于外部服务的 outbound cluster 和 自身所在节点服务的 inbound cluster。
- ListenersConfigDump: 监听器配置,包括用于处理对外业务请求的 outbound listener,处理入向业务请求的 inbound listener,以及作为流量处理入口的 virtual listener。
- RoutesConfigDump: 路由配置,用于 HTTP 请求的路由处理。
- SecretsConfigDump: TLS 双向认证相关的配置,包括自身的证书以及用于验证请求方的 CA 根证书。
下面我们对该配置文件中和流量路由相关的配置一一进行详细分析。
Bootstrap
从名字可以看出这是 Envoy 的初始化配置,打开该节点,可以看到其中的内容和 envoy-rev0.json 是一致的,这里不再赘述。 需要注意的是在 bootstrap 部分配置的一些内容也会被用于其他部分,例如 clusters 部分就包含了 bootstrap 中定义的一些静态 cluster 资源。
{
"@type": "type.googleapis.com/envoy.admin.v3.BootstrapConfigDump",
"bootstrap": {
"node": {...},
"stats_config": {...},
"admin": {...},
"dynamic_resources": {...},
"static_resources": {...},
"tracing": {...}
},
"last_updated": "2020-03-11T08:14:03.630Z"
},
Clusters
这部分配置定义了 Envoy 中所有的 cluster,即服务集群,cluster 中包含一个到多个 endpoint,每个 endpoint 都可以提供服务,Envoy 根据负载均衡算法将请求发送到这些 endpoint 中。
从配置文件结构中可以看到,在 productpage 的 clusters 配置中包含 static_clusters 和 dynamic_active_clusters 两部分,其中 static_clusters 是来自于 envoy-rev0.json 的初始化配置中的 prometheus_stats、xDS server、zipkin server 信息。dynamic_active_clusters 是 Envoy 通过 xDS 接口从 Istio 控制平面获取的服务信息。
其中 dynamic cluster 又分为以下几类:
Outbound Cluster
这部分的 cluster 占了绝大多数,该类 cluster 对应于 Envoy 所在节点的外部服务。以 reviews 为例,对于 productpage 来说,reviews 是一个外部服务,因此其 cluster 名称中包含 outbound 字样。
从 reviews 服务对应的 cluster 配置中可以看到,其类型为 EDS,即表示该 cluster 的 endpoint 来自于动态发现,动态发现中 eds_config 则指向了ads,最终指向 static resource 中配置的 xds-grpc cluster,即 Pilot 的地址。
{
"version_info": "2020-03-11T08:13:39Z/22",
"cluster": {
"@type": "type.googleapis.com/envoy.api.v2.Cluster",
"name": "outbound|9080||reviews.default.svc.cluster.local",
"type": "EDS",
"eds_cluster_config": {
"eds_config": {
"ads": {}
},
"service_name": "outbound|9080||reviews.default.svc.cluster.local"
},
"connect_timeout": "1s",
"circuit_breakers": {},
"filters": [],
"transport_socket_matches": []
},
"last_updated": "2020-03-11T08:14:04.664Z"
}
可以通过 Pilot 的调试接口获取该 cluster 的 endpoint:
curl http://10.97.222.108:15014/debug/edsz > pilot_eds_dump
从导出的文件内容可以看到,reviews cluster 配置了3个 endpoint 地址,是 reviews 的 pod ip。
{
"clusterName": "outbound|9080||reviews.default.svc.cluster.local",
"endpoints": [
{
"lbEndpoints": [
{
"endpoint": {
"address": {
"socketAddress": {
"address": "10.40.0.15",
"portValue": 9080
}
}
},
"metadata": {},
"loadBalancingWeight": 1
},
{
"endpoint": {
"address": {
"socketAddress": {
"address": "10.40.0.16",
"portValue": 9080
}
}
},
"metadata": {},
"loadBalancingWeight": 1
},
{
"endpoint": {
"address": {
"socketAddress": {
"address": "10.40.0.17",
"portValue": 9080
}
}
},
"metadata": {},
"loadBalancingWeight": 1
}
],
"loadBalancingWeight": 3
}
]
}
Inbound Cluster
对于 Envoy 来说,inbound cluster 对应于入向请求的 upstream 集群, 即 Envoy 自身所在节点的服务。对于 productpage Pod 上的 Envoy,其对应的 Inbound cluster 只有一个,即 productpage。该 cluster 对应的 host 为127.0.0.1,即回环地址上 productpage 的监听端口。由于 iptable 规则中排除了127.0.0.1,入站请求通过该 Inbound cluster 处理后将跳过 Envoy,直接发送给 productpage 进程处理。
{
"version_info": "2020-03-11T08:13:39Z/22",
"cluster": {
"@type": "type.googleapis.com/envoy.api.v2.Cluster",
"name": "inbound|9080|http|productpage.default.svc.cluster.local",
"type": "STATIC",
"connect_timeout": "1s",
"circuit_breakers": {
"thresholds": []
},
"load_assignment": {
"cluster_name": "inbound|9080|http|productpage.default.svc.cluster.local",
"endpoints": [
{
"lb_endpoints": [
{
"endpoint": {
"address": {
"socket_address": {
"address": "127.0.0.1",
"port_value": 9080
}
}
}
}
]
}
]
}
},
"last_updated": "2020-03-11T08:14:04.684Z"
}
BlackHoleCluster
这是一个特殊的 cluster ,其中并没有配置后端处理请求的 host。如其名字所表明的一样,请求进入该 cluster 后如同进入了一个黑洞,将被丢弃掉,而不是发向一个 upstream host。
{
"version_info": "2020-03-11T08:13:39Z/22",
"cluster": {
"@type": "type.googleapis.com/envoy.api.v2.Cluster",
"name": "BlackHoleCluster",
"type": "STATIC",
"connect_timeout": "1s",
"filters": []
},
"last_updated": "2020-03-11T08:14:04.665Z"
PassthroughCluster
该 cluster 的 type 被设置为 ORIGINAL_DST 类型, 表明任何发向该 cluster 的请求都会被直接发送到其请求中的原始目地的,Envoy 不会对请求进行重新路由。
{
"version_info": "2020-03-11T08:13:39Z/22",
"cluster": {
"@type": "type.googleapis.com/envoy.api.v2.Cluster",
"name": "PassthroughCluster",
"type": "ORIGINAL_DST",
"connect_timeout": "1s",
"lb_policy": "CLUSTER_PROVIDED",
"circuit_breakers": {
"thresholds": []
},
"filters": []
},
"last_updated": "2020-03-11T08:14:04.666Z"
}
Listeners
Envoy 采用 listener 来接收并处理 downstream 发过来的请求,listener 采用了插件式的架构,可以通过配置不同的 filter 在 listener 中插入不同的处理逻辑。
Listener 可以绑定到 IP Socket 或者 Unix Domain Socket 上,以接收来自客户端的请求;也可以不绑定,而是接收从其他 listener 转发来的数据。Istio 利用了 Envoy listener 的这一特点,通过 VirtualOutboundListener 在一个端口接收所有出向请求,然后再按照请求的端口分别转发给不同的 listener 分别处理。
VirtualOutbound Listener
Istio 在 Envoy 中配置了一个在 15001 端口监听的虚拟入口监听器。Iptable 规则将 Envoy 所在 pod 的对外请求拦截后发向本地的 15001 端口,该监听器接收后并不进行业务处理,而是根据请求的目的端口分发给其他监听器处理。这就是该监听器取名为 "virtual”(虚拟)监听器的原因。
Envoy 是如何做到按请求的目的端口进行分发的呢? 从下面 VirtualOutbound listener 的配置中可以看到 use_original_dest 属性被设置为 true, 这表示该监听器在接收到来自 downstream 的请求后,会将请求转交给匹配该请求原目的地址的 listener(即名字格式为 0.0.0.0_ 请求目的端口 的 listener)进行处理。
如果在 Enovy 的配置中找不到匹配请求目的端口的 listener,则将会根据 Istio 的 outboundTrafficPolicy 全局配置选项进行处理。存在两种情况:
- 如果 outboundTrafficPolicy 设置为
ALLOW_ANY:这表明网格允许发向任何外部服务的请求,无论该服务是否在 Pilot 的服务注册表中。在该策略下,Pilot 将会在下发给 Envoy 的 VirtualOutbound listener 加入一个 upstream cluster 为 PassthroughCluster 的 TCP proxy filter,找不到匹配端口 listener 的请求会被该 TCP proxy filter 处理,请求将会被发送到其 IP 头中的原始目的地地址。 - 如果 outboundTrafficPolicy 设置为
REGISTRY_ONLY:只允许发向 Pilot 服务注册表中存在的服务的对外请求。在该策略下,Pilot 将会在下发给 Enovy 的 VirtualOutbound listener 加入一个 upstream cluster 为 BlackHoleCluster 的 TCP proxy filter,找不到匹配端口 listener 的请求会被该 TCP proxy filter 处理,由于 BlackHoleCluster 中没有配置 upstteam host,请求实际上会被丢弃。
下图是 bookinfo 例子中 productpage 服务中 Enovy Proxy 的 Virutal Outbound Listener 配置。由于 outboundTrafficPolicy 的默认配置为 ALLOW_ANY,因此 listener 的 filterchain 中第二个 filter chain 中是一个 upstream cluster 为 PassthroughCluster 的 TCP proxy filter。注意该 filter 没有 filter_chain_match 匹配条件,因此如果进入该 listener 的请求在配置中找不到匹配其目的端口的 listener,就会缺省进入该 filter 进行处理。
filterchain 中的第一个 filter chain 中是一个 upstream cluster 为 BlackHoleCluster 的 TCP proxy filter,该 filter 设置了 filter_chain_match 匹配条件,只有发向 10.40.0.18 这个 IP 的出向请求才会进入该 filter 处理。10.40.0.18 是 productpage 服务自身的IP地址。该 filter 的目的是为了防止服务向自己发送请求可能导致的死循环。
{
"name": "virtualOutbound",
"active_state": {
"version_info": "2020-03-11T08:13:39Z/22",
"listener": {
"@type": "type.googleapis.com/envoy.api.v2.Listener",
"name": "virtualOutbound",
"address": {
"socket_address": {
"address": "0.0.0.0",
"port_value": 15001
}
},
"filter_chains": [
{
"filter_chain_match": {
"prefix_ranges": [
{
"address_prefix": "10.40.0.18",
"prefix_len": 32
}
]
},
"filters": [
{
"name": "envoy.tcp_proxy",
"typed_config": {
"@type": "type.googleapis.com/envoy.config.filter.network.tcp_proxy.v2.TcpProxy",
"stat_prefix": "BlackHoleCluster",
"cluster": "BlackHoleCluster"
}
}
]
},
{
"filters": [
{
"name": "envoy.tcp_proxy",
"typed_config": {
"@type": "type.googleapis.com/envoy.config.filter.network.tcp_proxy.v2.TcpProxy",
"stat_prefix": "PassthroughCluster",
"cluster": "PassthroughCluster",
"access_log": []
}
],
"use_original_dst": true,
"traffic_direction": "OUTBOUND"
},
"last_updated": "2020-03-11T08:14:04.929Z"
}
},
Outbound Listener
Envoy 为网格中的外部服务按端口创建多个 Outbound listener,以用于处理出向请求。bookinfo 示例程序中使用了9080作为微服务的业务端口,因此我们这里主要分析9080这个业务端口的 listener。和其他所有 Outbound listener 一样,该 listener 配置了"bind_to_port”: false 属性,因此该 listener 没有被绑定到 tcp 端口上,其接收到的所有请求都转发自15001端口的 Virtual listener。
该listener 的名称为0.0.0.0_9080,因此会匹配发向任意 IP 的9080端口的请求,bookinfo 程序中的 productpage,revirews,ratings,details 四个服务都使用了9080端口,那么 Envoy 如何区别处理这四个服务呢?
备注: 根据业务逻辑,实际上 productpage 并不会调用 ratings 服务,但 Istio 并不知道各个业务之间会如何调用,因此将所有的服务信息都下发到了 Envoy 中。这样做对 Envoy 的内存占用和效率有一定影响,如果希望去掉 Envoy 配置中的无用数据,可以通过 sidecar CRD 对 Envoy 的 ingress 和 egress service 配置进行调整。
首先,iptables 拦截到 productpage 向外发出的 HTTP 请求,并转发到同一 pod 中的 Envoy sidecar 监听的 15001 virtualOutbound listener 进行处理。 Envoy 根据目的端口匹配到 0.0.0.0_9080 这个 Outbound listener,并转交给该 listener。
如下面的配置所示,当 0.0.0.0_9080 接收到出向请求后,并不会直接发送到一个 downstream cluster,而是配置了一个路由规则 9080,在该路由规则中会根据不同的请求目的地对请求进行处理。
{
"name": "0.0.0.0_9080",
"active_state": {
"version_info": "2020-03-11T08:13:39Z/22",
"listener": {
"@type": "type.googleapis.com/envoy.api.v2.Listener",
"name": "0.0.0.0_9080",
"address": {
"socket_address": {
"address": "0.0.0.0",
"port_value": 9080
}
},
"filter_chains": [
{
"filters": [
{
"name": "envoy.http_connection_manager",
"typed_config": {
"@type": "type.googleapis.com/envoy.config.filter.network.http_connection_manager.v2.HttpConnectionManager",
"stat_prefix": "outbound_0.0.0.0_9080",
"rds": {
"config_source": {
"ads": {}
},
"route_config_name": "9080"
},
...
}
}
]
}
],
"deprecated_v1": {
"bind_to_port": false
},
"traffic_direction": "OUTBOUND"
},
"last_updated": "2020-03-11T08:14:04.927Z"
}
}
VirtualInbound Listener
在较早的版本中,Istio 采用同一个 VirtualListener 在端口 15001 上同时处理入向和出向的请求。该方案存在一些潜在的问题,例如可能会导致出现死循环,参见这个 PR。在 1.4 版本之后,Istio 为 Envoy 单独创建了 一个 VirtualInboundListener,在 15006 端口监听入向请求,原来的 15001 端口只用于处理出向请求。
另外一个变化是当 VirtualInboundListener 接收到请求后,将直接在 VirtualInboundListener 采用一系列 filterChain 对入向请求进行处理,而不是像 VirtualOutboundListener 一样分发给其它独立的 listener 进行处理。
这样修改后,Envoy 配置中入向和出向的请求处理流程被完全拆分开,请求处理流程更为清晰,可以避免由于配置导致的一些潜在错误。
下图是 bookinfo 例子中 reviews 服务中 Envoy Proxy 的 VirtualInbound listener 配置。 在配置中采用注释标注了各个不同作用的 filter chain。
{
"name": "virtualInbound",
"active_state": {
"version_info": "2020-03-11T08:13:14Z/21",
"listener": {
"@type": "type.googleapis.com/envoy.api.v2.Listener",
"name": "virtualInbound",
"address": {
"socket_address": {
"address": "0.0.0.0",
"port_value": 15006
}
},
"filter_chains": [
{...} //passthrough,启用tls
{...} //passthrough,未启用tls
{...} //处理发向15020端口的监控检查
{...} //9080业务端口,启用tls
{...} //9080业务端口,未启用tls
],
"listener_filters": [
{
"name": "envoy.listener.original_dst"
},
{
"name": "envoy.listener.tls_inspector"
}
],
"listener_filters_timeout": "1s",
"traffic_direction": "INBOUND",
"continue_on_listener_filters_timeout": true
},
"last_updated": "2020-03-11T08:13:39.372Z"
}
}
如该配置所示,reviews 服务中一共配置了5个 filter chain,其中最后两个 filter chain 用于业务处理,一个用于处理 HTTPS 请求;一个用于处理 plain HTTP 请求。
除了 TLS 相关的配置以外,这两个业务处理的 filter chain 的处理逻辑是相同的。 我们打开 HTTPS filter chain,以查看其内部的内容:
{
"filter_chain_match": {
"prefix_ranges": [
{
"address_prefix": "10.40.0.15",
"prefix_len": 32
}
],
"destination_port": 9080,
"application_protocols": [
"istio-peer-exchange",
"istio",
"istio-http/1.0",
"istio-http/1.1",
"istio-h2"
]
},
"filters": [
{
"name": "envoy.filters.network.metadata_exchange",
"config": {
"protocol": "istio-peer-exchange"
}
},
{
"name": "envoy.http_connection_manager",
"typed_config": {
"@type": "type.googleapis.com/envoy.config.filter.network.http_connection_manager.v2.HttpConnectionManager",
"stat_prefix": "inbound_10.40.0.15_9080",
"route_config": {
"name": "inbound|9080|http|reviews.default.svc.cluster.local",
"virtual_hosts": [
{
"name": "inbound|http|9080",
"domains": [
"*"
],
"routes": [
{
"match": {
"prefix": "/"
},
"route": {
"cluster": "inbound|9080|http|reviews.default.svc.cluster.local",
"timeout": "0s",
"max_grpc_timeout": "0s"
},
"decorator": {
"operation": "reviews.default.svc.cluster.local:9080/*"
},
"name": "default"
}
]
}
],
"validate_clusters": false
},
"http_filters": [
{
"name": "envoy.filters.http.wasm",
......
},
{
"name": "istio_authn",
......
},
{
"name": "envoy.cors"
},
{
"name": "envoy.fault"
},
{
"name": "envoy.filters.http.wasm",
......
{
"name": "envoy.router"
}
],
"tracing": {
......
},
"server_name": "istio-envoy",
......
}
}
],
},
"transport_socket": {
"name": "envoy.transport_sockets.tls",
"typed_config": {
"@type": "type.googleapis.com/envoy.api.v2.auth.DownstreamTlsContext",
"common_tls_context": {
"alpn_protocols": [
"istio-peer-exchange",
"h2",
"http/1.1"
],
"tls_certificate_sds_secret_configs": [
{
"name": "default",
"sds_config": {
"api_config_source": {
"api_type": "GRPC",
"grpc_services": [
{
"envoy_grpc": {
"cluster_name": "sds-grpc"
}
}
]
}
}
}
],
"combined_validation_context": {
"default_validation_context": {},
"validation_context_sds_secret_config": {
"name": "ROOTCA",
"sds_config": {
"api_config_source": {
"api_type": "GRPC",
"grpc_services": [
{
"envoy_grpc": {
"cluster_name": "sds-grpc"
}
}
]
}
}
}
}
},
"require_client_certificate": true
}
}
}
该 filterchain 配置了一个 http_connection_manager filter,http_connection_manager 中又配置了 wasm、istio_authn、envoy.router 等 http filter,Istio 中提供的一些基础能力,例如安全认证、指标收集、请求限流等,就是通过这些 filter 实现的。请求经过这些 HTTP filter 处理后,最终被转发给 inbound|9080|http|reviews.default.svc.cluster.local 这个 Inbound cluster,该 Inbound cluster 中配置的 Upstream 为 127.0.0.1:9080,因此该请求将发送到和 sidecar 同一个 pod 上的 reviews 服务的 9080 端口上进行业务处理。
在 transport_socket 部分配置的是 TLS 双向认证所需的证书信息,从配置中可以得知,Envoy 将通过 SDS (Secret Discovery Service) 获取自身的服务器证书和验证客户端证书所需的根证书。
如果一个入向访问的目的端口不能匹配到业务服务的 filterchain,则会进入到 passthrough 的 filter chain 进行处理,该 filter chain 对应的 cluster 为 InboundPassthroughClusterIpv4,结合 iptables 规则, 该 cluster 将会把请求转发到其本地的原始目的端口处理。
Routes
这部分配置是 Envoy 的 HTTP 路由规则。在前面 listener 的分析中,我们看到 Outbound listener 是以端口为最小粒度来进行处理的,而不同的服务可能采用了相同的端口,因此需要通过 Route 来进一步对发向同一目的端口的不同服务的请求进行区分和处理。Istio 在下发给 sidecar 的缺省路由规则中为每个端口设置了一个路由规则,然后再根据 host 来对请求进行路由分发。
下面是 proudctpage 服务中 9080 的路由配置,从文件中可以看到对应了5个 virtual host,分别是 details、productpage、ratings、reviews 和 allow_any,前三个 virtual host 分别对应到不同服务的 outbound cluster。最后一个对应到 PassthroughCluster,即当入向的请求没有找到对应的服务时,也会让其直接通过。
{
"version_info": "2020-03-11T08:13:39Z/22",
"route_config": {
"@type": "type.googleapis.com/envoy.api.v2.RouteConfiguration",
"name": "9080",
"virtual_hosts": [
{
"name": "allow_any",
"domains": [
"*"
],
"routes": [
{
"match": {
"prefix": "/"
},
"route": {
"cluster": "PassthroughCluster",
"timeout": "0s"
}
}
]
},
{
"name": "details.default.svc.cluster.local:9080",
"domains": [
"details.default.svc.cluster.local",
"details.default.svc.cluster.local:9080",
"details",
"details:9080",
"details.default.svc.cluster",
"details.default.svc.cluster:9080",
"details.default.svc",
"details.default.svc:9080",
"details.default",
"details.default:9080",
"10.96.60.140",
"10.96.60.140:9080"
],
"routes": [
{
"match": {
"prefix": "/"
},
"route": {
"cluster": "outbound|9080||details.default.svc.cluster.local",
"timeout": "0s",
"retry_policy": {
"retry_on": "connect-failure,refused-stream,unavailable,cancelled,resource-exhausted,retriable-status-codes",
"num_retries": 2,
"retry_host_predicate": [
{
"name": "envoy.retry_host_predicates.previous_hosts"
}
],
"host_selection_retry_max_attempts": "5",
"retriable_status_codes": [
503
]
},
"max_grpc_timeout": "0s"
},
"decorator": {
"operation": "details.default.svc.cluster.local:9080/*"
},
"name": "default"
}
]
},
{
"name": "productpage.default.svc.cluster.local:9080",
"domains": [
"productpage.default.svc.cluster.local",
......
],
"routes": [
{
"match": {
"prefix": "/"
},
"route": {
"cluster": "outbound|9080||productpage.default.svc.cluster.local",
......
]
},
{
"name": "ratings.default.svc.cluster.local:9080",
"domains": [
"ratings.default.svc.cluster.local",
......
],
"routes": [
{
"match": {
"prefix": "/"
},
"route": {
"cluster": "outbound|9080||ratings.default.svc.cluster.local",
......
]
},
{
"name": "reviews.default.svc.cluster.local:9080",
"domains": [
"reviews.default.svc.cluster.local",
......
],
"routes": [
{
"match": {
"prefix": "/"
},
"route": {
"cluster": "outbound|9080||reviews.default.svc.cluster.local",
......
},
Bookinfo 端到端调用分析
通过前面对 Envoy 配置文件的分析,我们对 Envoy 上生成的各种配置数据的结构,包括 listener、cluster、route 和 endpoint 有了一定的了解。那么这些配置是如何有机地结合在一起,以对经过网格中的流量进行路由的呢?
下面我们通过 bookinfo 示例程序中一个端到端的调用请求把这些相关的配置串连起来,使用该完整的调用流程来帮助理解 Istio 控制平面的流量控制能力是如何在数据平面的 Envoy 上实现的。
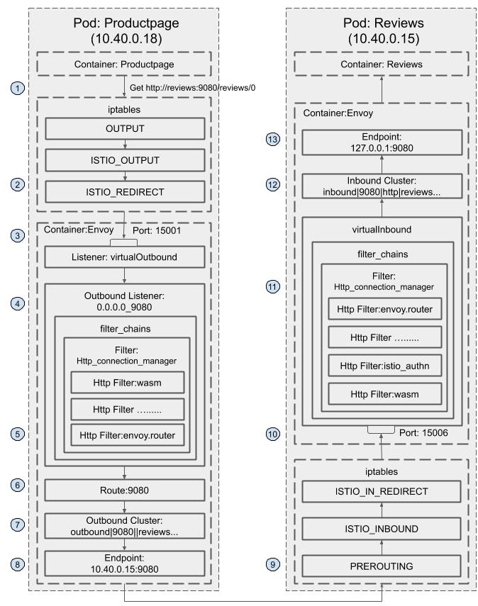
下图描述了 bookinfo 示例程序中 productpage 服务调用 reviews 服务的请求流程:

- Productpage 发起对 reviews 服务的调用:
http://reviews:9080/reviews/0。 - 请求被 productpage Pod 的 iptable 规则拦截,重定向到本地的 15001 端口。
- 在 15001 端口上监听的 VirtualOutbound listener 收到了该请求。
请求被 VirtualOutbound listener 根据原目标 IP(通配)和端口(9080)转发到
0.0.0.0_9080这个 outbound listener。{ "name": "virtualOutbound", "active_state": { "version_info": "2020-03-11T08:13:39Z/22", "listener": { "@type": "type.googleapis.com/envoy.api.v2.Listener", "name": "virtualOutbound", "address": { "socket_address": { "address": "0.0.0.0", "port_value": 15001 } }, ...... "use_original_dst": true, "traffic_direction": "OUTBOUND" }, "last_updated": "2020-03-11T08:14:04.929Z" }根据
0.0.0.0_9080listener 的http_connection_managerfilter 配置,该请求采用 9080 route 进行分发。{ "name": "0.0.0.0_9080", "active_state": { "version_info": "2020-03-11T08:13:39Z/22", "listener": { "@type": "type.googleapis.com/envoy.api.v2.Listener", "name": "0.0.0.0_9080", "address": { "socket_address": { "address": "0.0.0.0", "port_value": 9080 } }, "filter_chains": [ ...... { "filters": [ { "name": "envoy.http_connection_manager", "typed_config": { "@type": "type.googleapis.com/envoy.config.filter.network.http_connection_manager.v2.HttpConnectionManager", "stat_prefix": "outbound_0.0.0.0_9080", "rds": { "config_source": { "ads": {} }, "route_config_name": "9080" }, "http_filters": [ { "name": "envoy.filters.http.wasm", ...... }, { "name": "istio.alpn", ...... }, { "name": "envoy.cors" }, { "name": "envoy.fault" }, { "name": "envoy.filters.http.wasm", ...... }, { "name": "envoy.router" } ], "tracing": { "client_sampling": { "value": 100 }, "random_sampling": { "value": 100 }, "overall_sampling": { "value": 100 } }, ...... } } ] } ], "deprecated_v1": { "bind_to_port": false }, "traffic_direction": "OUTBOUND" }, "last_updated": "2020-03-11T08:14:04.927Z" } },9080 这个 route 的配置中,host name 为
reviews:9080的请求对应的 cluster 为outbound|9080||reviews.default.svc.cluster.local。{ "version_info": "2020-03-11T08:13:39Z/22", "route_config": { "@type": "type.googleapis.com/envoy.api.v2.RouteConfiguration", "name": "9080", "virtual_hosts": [ ...... "name": "ratings.default.svc.cluster.local:9080", "domains": [ "ratings.default.svc.cluster.local", "ratings.default.svc.cluster.local:9080", "ratings", "ratings:9080", "ratings.default.svc.cluster", "ratings.default.svc.cluster:9080", "ratings.default.svc", "ratings.default.svc:9080", "ratings.default", "ratings.default:9080", "10.102.90.243", "10.102.90.243:9080" ], "routes": [ { "match": { "prefix": "/" }, "route": { "cluster": "outbound|9080||ratings.default.svc.cluster.local", "timeout": "0s", "retry_policy": { "retry_on": "connect-failure,refused-stream,unavailable,cancelled,resource-exhausted,retriable-status-codes", "num_retries": 2, "retry_host_predicate": [ { "name": "envoy.retry_host_predicates.previous_hosts" } ], "host_selection_retry_max_attempts": "5", "retriable_status_codes": [ 503 ] }, "max_grpc_timeout": "0s" }, "decorator": { "operation": "ratings.default.svc.cluster.local:9080/*" }, "name": "default" } ] }, { "name": "reviews.default.svc.cluster.local:9080", "domains": [ "reviews.default.svc.cluster.local", "reviews.default.svc.cluster.local:9080", "reviews", "reviews:9080", "reviews.default.svc.cluster", "reviews.default.svc.cluster:9080", "reviews.default.svc", "reviews.default.svc:9080", "reviews.default", "reviews.default:9080", "10.107.156.4", "10.107.156.4:9080" ], "routes": [ { "match": { "prefix": "/" }, "route": { "cluster": "outbound|9080||reviews.default.svc.cluster.local", "timeout": "0s", "retry_policy": { "retry_on": "connect-failure,refused-stream,unavailable,cancelled,resource-exhausted,retriable-status-codes", "num_retries": 2, "retry_host_predicate": [ { "name": "envoy.retry_host_predicates.previous_hosts" } ], "host_selection_retry_max_attempts": "5", "retriable_status_codes": [ 503 ] }, "max_grpc_timeout": "0s" }, "decorator": { "operation": "reviews.default.svc.cluster.local:9080/*" }, "name": "default" } ] } ], "validate_clusters": false }, "last_updated": "2020-03-11T08:14:04.971Z" }outbound|9080||reviews.default.svc.cluster.local cluster为动态资源,通过 EDS 查询得到该 cluster 中有3个 endpoint。{ "clusterName": "outbound|9080||reviews.default.svc.cluster.local", "endpoints": [ { "lbEndpoints": [ { "endpoint": { "address": { "socketAddress": { "address": "10.40.0.15", "portValue": 9080 } } }, "metadata": {}, "loadBalancingWeight": 1 }, { "endpoint": { "address": { "socketAddress": { "address": "10.40.0.16", "portValue": 9080 } } }, "metadata": {}, "loadBalancingWeight": 1 }, { "endpoint": { "address": { "socketAddress": { "address": "10.40.0.17", "portValue": 9080 } } }, "metadata": {}, "loadBalancingWeight": 1 } ], "loadBalancingWeight": 3 } ] }请求被转发到其中一个 endpoint
10.40.0.15,即reviews-v1所在的 Pod。
- 然后该请求被 iptable 规则拦截,重定向到本地的 15006 端口。
- 在 15006 端口上监听的 VirtualInbound listener 收到了该请求。
根据匹配条件,请求被 VirtualInbound listener 内部配置的 Http connection manager filter 处理,该 filter 设置的路由配置为将其发送给
inbound|9080|http|reviews.default.svc.cluster.local这个 inbound cluster。{ "name": "virtualInbound", "active_state": { "version_info": "2020-03-11T08:13:14Z/21", "listener": { "@type": "type.googleapis.com/envoy.api.v2.Listener", "name": "virtualInbound", "address": { "socket_address": { "address": "0.0.0.0", "port_value": 15006 } }, "filter_chains": [ { "filter_chain_match": { "prefix_ranges": [ { "address_prefix": "10.40.0.15", "prefix_len": 32 } ], "destination_port": 9080, "application_protocols": [ "istio-peer-exchange", "istio", "istio-http/1.0", "istio-http/1.1", "istio-h2" ] }, "filters": [ { "name": "envoy.filters.network.metadata_exchange", "config": { "protocol": "istio-peer-exchange" } }, { "name": "envoy.http_connection_manager", "typed_config": { "@type": "type.googleapis.com/envoy.config.filter.network.http_connection_manager.v2.HttpConnectionManager", "stat_prefix": "inbound_10.40.0.15_9080", "route_config": { "name": "inbound|9080|http|reviews.default.svc.cluster.local", "virtual_hosts": [ { "name": "inbound|http|9080", "domains": [ "*" ], "routes": [ { "match": { "prefix": "/" }, "route": { "cluster": "inbound|9080|http|reviews.default.svc.cluster.local", "timeout": "0s", "max_grpc_timeout": "0s" }, "decorator": { "operation": "reviews.default.svc.cluster.local:9080/*" }, "name": "default" } ] } ], "validate_clusters": false }, "http_filters": [ { "name": "envoy.filters.http.wasm", ...... }, { "name": "istio_authn", ...... }, { "name": "envoy.cors" }, { "name": "envoy.fault" }, { "name": "envoy.filters.http.wasm", ...... }, { "name": "envoy.router" } ], ...... } } ], "metadata": {...}, "transport_socket": {...} ], ...... } }inbound|9080|http|reviews.default.svc.cluster.local cluster配置的 host 为127.0.0.1:9080。{ "version_info": "2020-03-11T08:13:14Z/21", "cluster": { "@type": "type.googleapis.com/envoy.api.v2.Cluster", "name": "inbound|9080|http|reviews.default.svc.cluster.local", "type": "STATIC", "connect_timeout": "1s", "circuit_breakers": { "thresholds": [ { "max_connections": 4294967295, "max_pending_requests": 4294967295, "max_requests": 4294967295, "max_retries": 4294967295 } ] }, "load_assignment": { "cluster_name": "inbound|9080|http|reviews.default.svc.cluster.local", "endpoints": [ { "lb_endpoints": [ { "endpoint": { "address": { "socket_address": { "address": "127.0.0.1", "port_value": 9080 } } } } ] } ] } }, "last_updated": "2020-03-11T08:13:39.118Z" }请求被转发到
127.0.0.1:9080,即 reviews 服务进行业务处理。
小结
本节介绍了 Istio 中 sidecar 内部配置的数据结构和内容,并通过 bookinfo 示例程序的一个端到端调用分析了 Envoy 是 如何实现服务网格中的流量路由的。虽然文中未涉及按照版本对请求路由、流量镜像、故障注入、熔断等高级流量管理功能,但读者也可以参考本节介绍的方法对这些功能进行分析,以透过表面的概念更进一步深入理解 Istio 流量管理的实现机制。